米兰尼斯表带是一种用金属丝网编织而成的表带,最初由意大利米兰的手工艺人发明,其诞生与米兰的历史和文化息息相关。

意大利古城锡耶纳保留了大量12-15世纪的历史建筑,现存的城市景观向人们诉说着昔日的繁荣
由于意大利地处地中海贸易和东西方贸易的关键位置,从11世纪开始这里的手工业日益繁荣,到14世纪时,意大利北部已经成为欧洲城市手工业最发达的地区之一。

欧洲中世纪锁子甲复原模型
手工业者对精细金属加工的熟稔配合良好的商业氛围,使得米兰的盔甲设计制造成为当地一绝,其中锁子甲的制作技艺传承到19世纪中期时,开始衍生出用金属编织的手镯手链等产品,并逐渐开始应用到钟表领域。

英王亨利八世的精美铠甲,部分外包制作于意大利米兰 英国利兹军械博物馆藏

上世纪产于意大利的编织首饰

《教父2》中,阿尔帕西诺佩戴了一块米兰带欧米茄星座

米兰表带与表壳焊接为一体 图片源自新浪微博@芯随表动
上世纪60-90年代的米兰表带常与手表焊接为一体,今天我们在一些vintage商家那里还能看到一些这样的作品,这些表通常风格华丽,工艺精致。
现在,得益于高效的规模工业生产,米兰表带的生产成本大幅下降,我们在各价位段产品上都能看见它的身影。

遵循功能主义理念设计的博朗石英手表,也用上了曾经奢侈的米兰尼斯表带
苹果的米兰带采用磁吸设计,这种设计使得表带十分简洁,省去了一个机械表扣结构,并且能无级调节适腕长度,不过表带磁性可能会对手表的指南针功能产生干扰。

Apple Watch发布于2014年,发售于2015年,在2014年发布的宣传图中,表带侧面线头是开放状态,但2015年后发售的实物上,侧面线头全被封闭了起来。
苹果使用激光焊接工艺,将两侧的线头全部封闭后再进行打磨抛光。整条表带共有约500个线头,需进行两百多次精密焊接,这个过程十分费工费时,但通过这种不厌其烦的焊接打磨,表带在物理上成为了一个整体,而不再是由许多金属麻花拧合而成的部件。

在宣传图中,编织网的线头在表带侧面呈开放咬合状

实物表带上,边缘线头全部进行焊接封闭处理

这种做法在业内前所未有,即使苹果不这样做,产品的功能和使用体验也不会受到影响,这个细节算是从另一种角度体现了苹果对unibody的一贯追求,可以少就不要多,less is more,即使需要付出很多额外的工艺投入。

专利US20180049492A1中展示的线头焊接封闭工艺
我在小红书、微博等平台找了些这款表带的用户评价,不少人表示表带质感不错,挺丝滑,尤其是对比其它米兰带后这种感受更为明显。这些主观感受是正确的,这源自苹果针对米兰尼斯的另一项独创改进。

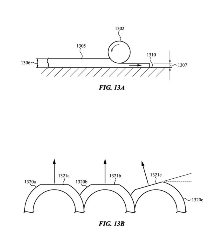
在此之前,米兰尼斯表带在完成编织后需要通过压制来获得更薄的厚度和一定的韧性,但在压制的过程中表面会被压平,出现细小的平面。

压制滚筒对编织网表面施加向下的压力,使得松散的编织网获得一定的强度和柔韧性

压制后的表面会出现切面平面
我找了一组米兰尼斯表带的制作过程图,方便大家去理解这个过程,图片内容来自百达翡丽宣传片截图。


使用特定的旋转治具,将金属丝拧成螺旋状


将获得的螺旋状金属一段一段拧合在一起,获得表带,再将边缘处的线头修剪一下


将表带放入按压治具中压平,表带变得柔软又强韧,不再是松散的状态


有些按压平面比较小,通过后期打磨可以弱化平面的存在感,有些平面则比较大,索性成为了表带的外观特征,但他们的共同点都一样,因为压制工艺导致表面不可避免有平面存在。

在部分产品上可以看到表带钢网被压制到几乎粘连的状态

社交媒体上的鉴定帖中,表面光顺是区分是否原装的依据之一
图片源自小红书用户@千鱼

而苹果米兰带的编织网表面仍保持弧面状态,光影在无数弧面上流动,整体呈现出自然流畅的视觉效果,这就是用户感觉表带质感更丝滑的原因。
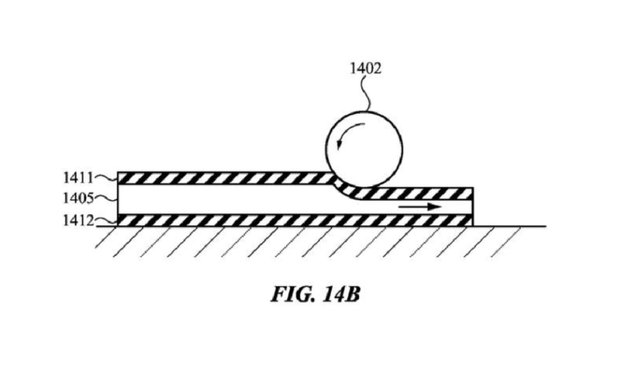
实现这种效果的原理并不复杂,根据公开专利US20180049492A1显示,苹果认为压制过程中产生的平面是不可被接受的,平面不齐整会使得光的反射方向不一,影响外观效果,解决方案是在压制设备与表带之间添加缓冲层,通过缓冲层产生的塑性形变,来均匀分摊滚筒在钢网表面产生的压力。缓冲层的材料则为聚乙烯,尼龙和聚氨酯等。


1405为表带,1411/1412为缓冲层,1402为压制滚筒

未使用缓冲层时,力直接施加在较小的接触面上,导致表面局部被压平

在中间加上可以发生塑性形变的缓冲层后,施加的力被均匀分散在了钢网表面

在此基础上苹果衍生设计了另一种方案,直接在滚筒表面添加缓冲层,这样设备可以连续重复使用,提高效率的同时也降低了成本。

看完表带侧面和表面,咱们再来看看表带两端有什么特别之处。
表带两端的连接面十分纯粹,很像在3d中建模的时候,偷懒把表带末端砍了一刀,然后直接拼接在其它部件上。在3d里可以这样做,但在现实中不行,因为这样无法将两个部件紧密连接在一起,通常我们要通过机械结构/焊接/胶粘等方式来结合部件,就像我们在其它米兰表带上观察到的一样,表带末端衔接处多少会发现一点工艺处理痕迹。

图片源自新浪微博@芯随表动
显然苹果在此处无法接受焊接等工艺带来的外观瑕疵,甚至不愿意像表带侧面一样先焊接再打磨,我们现在所看到的这种纯粹的效果,应当是在原始设计时就确立的目标。
实现的原理也不复杂,苹果通过局部切割、锻压等方式在表带的末端加工出一截凸起,而在被衔接部件上设计有对应的凹槽,最后使用钎焊将两个部件连接起来。

钎焊是指把低于焊件熔点的钎料和焊件同时加热,达到钎料熔化温度后,液态钎料填充固态焊件的缝隙,使焊件之间连接的焊接方法。钎焊的特点是变形很小,非常适合焊接精密复杂的部件。
这是个十分古老的工艺,在人类尚未使用铁器时就已经发明钎焊工艺来连接金属,秦始皇兵马俑青铜器马车中就大量采用了钎焊技术,汉代班固撰写的《汉书》记载:“胡桐泪状似眼泪也,可以焊金银也,今工匠皆用之”。
这个世界上并不会真的有魔法能够点石成金,让平凡变成伟大,创造卓越产品的机会,源自对粗粝现实的憎恶和对极致的无止境追求,苹果用各种古老简单(原理上来说是这样,但实际制造过程中涉及到的制程将会非常复杂)的工艺,将同样很有历史的米兰尼斯表带,提升到了此前从未有过的精致程度。


这款针扣皮革表带沿袭了传统设计,用起来就跟我们用过的表带差不多,当然这款的皮革会更柔软舒适一些,表面定制了荔枝纹理,边油也做得不错,很规整。
表带皮革部分的供应商为成立于1963年的丹麦制鞋厂ecco,就是那个卖鞋的ecco。皮革设计研发则由ecco位于荷兰的研发中心ecco leather提供,这家同时也是爱马仕和LV等品牌的供应商,我们在Apple直营店看到的橙色hermes小凳子也是出自ecco leather之手。最近几年,国内的头部手机品牌也开始在他们的穿戴产品中使用ecco leather的产品。
ecco leather官网


位于荷兰Dongen地区的ecco leather皮革研究中心

表带的皮革部分与表扣直接插接,表扣呈现出一个完整的跑道圆形态,这种简洁纯粹的形式有别于传统针扣。经验告诉我,“不一样的简洁” 背后通常意味着特别的设计,另一个角度也能佐证此处的特别,我找了些第三方仿制表带,发现表扣处都被处理成了传统的构造方式,抛开专利规避因素,没有一家可以做到与原版一致的效果。

第三方仿制的表扣无法做到如原版的简洁形态

拆解后发现表扣之中藏着转轴,其基础结构跟传统表扣并无二致,但仔细观察可以发现其不同寻常之处:转轴隐藏在表扣中,表扣内就要加工沉槽之类的特征,但是在这个形态下,刀具没法伸进去加工,使用粉末冶金放电等工艺是可以成型,但又无法达到我们目前所看到的产品精度,实物效果非常精致。
用微距观察发现槽内有清晰的铣刀痕迹,可以推定表扣是由加工后的金属棒折弯成型。表扣的轮廓也能反映这不是一个理想的跑道圆,折弯工艺使得其轮廓出现了扭曲。

从金属棒到表扣(此过程仅供粗略参考)



但是将这个加工过的金属棒折弯似乎没那么简单。据知乎网友@皮皮杜 反馈,两端车过的金属材料弯曲后在掏空位置发生了断裂,无法折弯成型,通常我们加工金属部件也都是塑型在先,加工在后,顺序不能乱,那么苹果是如何解决这个问题的?
谜底可能就在谜面上,我们穿越回2014年发布之时的官网,可见当时苹果十分重视Apple Watch的发布工作,使用了大量页面展示Apple Watch的各种特性,而在针扣的介绍页面,苹果表示,表扣使用了与表壳同款的不锈钢材质。


这句话初看没什么问题,但仔细分析一下会觉得有些奇怪,表扣显然一看图就知道是不锈钢,却单独强调跟表壳不锈钢材质一致,而其余不锈钢材质表带则没有提及这点,这说明表扣表壳所使用的钢材区别于常规钢材。
我们顺着这个线索去了解一下表壳用的不锈钢,刚好苹果有一部精美的产品视频介绍了不锈钢款表壳的制作工艺。
铸造/机加工/锻造 三者内部的晶格状态 图片源自网络
据视频介绍,表壳钢材为冷锻钢。冷锻,即在不加热状态下,对金属坯料施加巨大压力,使得其在模具内发生塑性变形来获得想要的部件形态。
锻造的部件与其它成型方式相比,其内部晶格流动走向和部件形态保持一致,这种晶格状态可以使得部件强度大大增强。
以上这些情况表明,苹果使用了锻造性能优良的钢材,这种性能进一步可以解释为,金属材料能承受塑性变形而不破裂的能力,而这种材料性能刚好可以满足表扣的工艺要求。

冷锻加工前的金属坯料

冷锻完成后的表壳雏形,准备进行下一步精密CNC加工
在搜集资料的过程中我发现苹果针对这款表扣还做了一些有意思的设计,这些设计虽没有量产,但挺有启发性,值得看一看,比如苹果设计了多种特殊结构使扣子上的针自带压力,使表带更为可靠。

皮革针扣表带目前已停产,停产并非产品本身有问题,而是Apple Watch的产品策略发生了转变。2014年产品发布之时其产品定义不够清晰,甚至出现了黄金Apple Watch这样的产品,到后期方向逐渐明朗,Apple Watch成为了专注运动+健康管理的穿戴设备。
我们将2014年发售的表带和2022年在售的表带罗列在一起,可以更直观地看到这种变化,适合正装通勤的皮质表带式微,而尼龙硅胶等更适合运动的材质被大量运用于新表带开发。即便如此,我们还是很愿意在今天去研究一下这条发布于2014年的表带,因为它证明了一些看似足够简单的产品和沿袭了上百年的惯例,其实是有机会被改变,并且做得更好。

不过呢这款表带也存在一些问题,其中有一处设计在我看来甚至是比较严重的纰漏,那就是扣子上的针被设计得过于粗壮。
传统针扣所用的针通常十分纤细,这可以使表扣与表带更为贴服。这个细节对佩戴体验的影响事实上是远超人们预期的,也是很多品牌一直在沿用的设计,唯独苹果反其道行之。

以作者佩戴的一款针扣腕表为例,细针设计带来的表带贴合效果非常出色



有趣的是,苹果官方所展示的宣传图正是这种设计纰漏导致的不帖服的错误效果(可以反面佐证果子不少效果图确实是用实拍+精修完成)。
苹果也并非没注意到这点,这款表带停产多年后,Apple Watch Ultra所配备的海洋表带又使用了针扣,这次的针被设计得很薄,同时曾经简洁纯粹的表扣形式也不复存在。


这款表带被苹果命名为现代风扣式,它给我的初始印象是熟悉且优雅的,让人联想到卡地亚等品牌的一些美妙作品。

图片源自@三木的旧表店
2014年Apple Watch发布之时,官网页面头部展示了搭配这款表带的大幅精致宣传照,并对表扣进行多角度特写展示。从画面营造的氛围及表款搭配不难看出,苹果有意对这款表带设定一个比较传统经典的审美取向,但表带本身以现代二字命名,这意味着表面相似的背后可能隐藏着全新的设计。






与传统表带一样,我们通过表带上的孔来定位到需要的长度。按下两侧的按钮,表扣被一分为二,表带轻松解开。
按钮的键程较短,按压手感轻盈,合上表扣也十分简单,两片表扣会通过磁力自动吸附贴合,组合成一个简洁的整体,我把这款表带给一些朋友去体验,很多人表示这个表扣挺精巧,用起来挺舒服,好像比以前用过的表带都要好用一些。

拆封的时候发现这款表带连贴膜视乎都要比别的款式更精致,膜片上在螺丝位置设计了精准的孔位
我们会赞叹这些精巧的设计,但同时也应该意识到,它们常常来自于一个细微的出发点,而不会是哪位设计师想着要憋一个大招来给大家瞧瞧。传统针扣需要将表带穿入表扣,再将中间的针插入表带上的孔位,用户每次摘下/穿戴手表时都要重复这个动作,苹果认为这不是理想的体验,用户应该用最简单的方式直接摘取或者穿戴。


苹果对现代风扣式表带的设计背景描述
很早人们就注意到了这个问题,并在20世纪初发明了折叠表扣,这是一个广泛使用到今天的经典设计,其结构简单可靠,但同时也有体积较大,可能硌手等缺点。
在挑剔的苹果看来,这样的设计不够完美,基于这个出发点,苹果设计出了现代风扣式结构。



我们将这款扣子和传统折叠扣放在一起对比,可以说差异真是明显,苹果用非常简洁的形式实现了同样的设计目标。无论是使用体验还是设计本身,都很优雅。表扣轮廓曲率优美,工艺精湛,镜面打磨出色,这些特性驱使我忍不住把它拆开一探究竟。


拆开看到一侧表带一端被压薄,然后与表扣内部垫片完全贴合,这样的定制设计优点缺点都很明显,优点是有助于实现最终我们所看到的效果,缺点是这种深度定制的表带完全没有通用性,皮革表带使用旧以后无法更换新表带,只能再购买一条完整的表带,白白浪费了一个这么精致的表扣,相当不环保。(对苹果的环保有了更深刻的理解。。)


把表扣全部拆开后是这样的,看起来好像很复杂是不是,我们再来看下专利图,更晕了!不要慌,先别被这些复杂的标注和结构吓到,我们要弄清原理,只需将其拆分成各个小的模块,再一一分析即可。
观察发现表扣结合是通过两瓣表扣内置的磁铁吸附实现的,这很好理解,而按下按钮可以分开表扣的功能,也是通过内置的磁铁实现的,这是怎么回事?我们一步一步接着往下看。

拆开两瓣表扣可以看到内部的垫片上分别安装了8颗圆形磁铁,这些圆形磁铁负责两瓣表扣的贴合。

其中一片上面有两块方形磁铁,这个磁铁是用来干嘛的,也是用来贴合的吗?是也不是,注意(罗老师声)!此处的设计是整个表扣结构最精彩的地方,通过简单巧妙的设计,同时实现了两瓣表扣的静态吸附和按压弹开。我们去回看一下表扣的按钮,翻过来可以看到按钮内部被封装了磁铁。

红圈处就是封装磁铁的地方。


在扣合状态下,按钮与表扣内的方块磁铁吸附。当我们按下按钮时,按钮被弹起,原本互相吸附的磁铁向内位移后开始互斥,这个排斥的力刚好可以弹开两瓣表扣。
通过专利发现,按钮和表扣内部封装的磁铁都不是整块磁铁,而是由多块磁极方向不同的磁铁组合而成,这也是为什么这部分的磁铁需要做封装。通过这样的磁极错开排列设计,就可以实现在一个位置下互相吸附而在另一个位置下互斥的功能。
怎么样,原理是不是十分简单。当然,仅靠磁力吸附排斥是不可靠的,这样手一甩可能表带就脱节了。在按钮上有一个凸起的柱子,柱子上加工出了卡口,两瓣表扣通过磁力吸附+机械卡扣的方式牢牢结合在了一起。

红框内为内部封装的多块磁铁

卡扣柱是外观面,这根细小的卡扣柱子也进行了细致的镜面抛光,随后再焊接到按钮上,在按钮背面可以看到清晰的焊接痕迹。


细小的卡口使用的工艺很精致,并非型材加工而成,而是由车床独立加工成型后再精磨所得

精密加工打磨的表扣外壳。由于其不规则的曲面造型和很高的镜面打磨要求,传闻此款表扣外壳的加工难度要大于表壳等其它部件,苹果在此处可能首次使用了表面仿形铣床来加工零件
这款表带的开发难度应仅次于链式钢带,里外所有的部件结构都采用了苹果自己的定制设计,没有前者可参考。虽然其原理并不复杂,但可以想象在实际制造过程中涉及的调试工作将会非常之多。我在拆解表扣的过程中发现很多轻微的装配误差都可能影响按键滑轨的手感,而磁铁的吸附力稍微强或弱一些,都会导致功能无法顺利实现。以前有位负责手机相机的同事喜欢用tuning来形容他的工作,因为相机总是需要不断调整各种参数去尽量达到主客观效果的平衡,我觉得研发这种表扣也是如此,想必也是经过了无数次tuning才实现了现在的效果。


和苹果其它表带不同,扣式表带只有一个规格,仅适用于小号的Apple Watch。对此苹果没给出理由,我认为这可能和扣子的尺寸过大有关。
这款扣子的宽度达到了30mm,其它表带多数在20mm左右,而扣子又是一个方形的形态,整个体量感已经逼近审美范围内的极限,如果要为大号的apple watch开发扣式表带,扣子的尺寸将会和小号的Apple Watch手表本身一样大(想象一下手上戴了两块表是什么感觉)。

留心一下目前类似性能的穿戴设备的尺寸,你会发现小号的Apple Watch几乎是尺寸最小的产品,它的宽度只有35mm,而其它品牌多在40mm以上,甚至达到了48mm。苹果坚持保留小尺寸产品线,我认为是对专业审美的一种认可和延续。在作为配饰的钟表审美体系内,通常认为直径33mm-39mm是比较合适的,这个尺寸范围内的手表佩戴效果最为美观。但不同于传统钟表,电子穿戴设备是集成度很高的产品,内部空间极其宝贵,同样的性能,做小比做大要难得多。如果你发现了苹果对尺寸和佩戴效果的关注与坚持,就会明白,为什么苹果不会做大号的扣式表带。

在Apple Watch项目中,苹果咨询了多位钟表领域的专家学者辅助产品开发 资料源自乔纳森访谈:Apple, Influence, and Ive - Hodinkee Magazine

乔纳森个人钟爱佩戴一块百达翡丽nautilus腕表,Apple Watch的指针设计便是直接取自这款腕表。图片源自HODINKEE
但从目前的趋势看,Apple Watch的尺寸越做越大,足够强势的新功能逐渐侵蚀了尺寸的边界,当新增功能产生的用户价值远远大于审美需求时,一定是用户价值优先,所以苹果未来放弃小尺寸产品线也并非没有可能。
下面几张图展示了小尺寸和大尺寸腕表的上手效果,心领神会一下~(设计师一定要对尺寸极其敏感。如果你是穿戴设备行业的工业设计师,对尺寸/比例的关注和坚持也许就能让你脱颖而出~消费电子产品都注定速朽,但对品味的在乎能让你的设计有机会站在科技和人文的十字路口,成为转瞬即逝的流星雨中最亮的那一颗。)

Philippe Dufour Simplicity 直径34mm 图片源自 网络

CHOPARD LUC 1860 直径36mm 图片源自 WOOHOO TIME

IWC 葡萄牙计时 41mm 图片源自 IWC官网

Apple Watch 38mm 图片源自 HODINKEE


Apple Watch Ultra 49mm 细手腕慎重考虑Ultra版本。。。 图片源自 网络


这款表带是苹果所有表带里看起来最平平无奇的一款,也是基础款Apple Watch的标配表带,我日常佩戴最多的就是它,选择它作为主力表带是因为它很柔软,轻便,表面的亲肤质感很好,用久了也不会发黄开裂,性能十分稳定。
这些特性都得益于表带采用的氟橡胶材质,而这也使得这款扫地僧表带产生的行业影响力要远大于苹果其它表带。2015年之前市场上还没有表带使用氟橡胶材质,Apple Watch发售后市场马上开始普及。
我们先来了解一下氟橡胶是什么,下面加粗部分文字是我网上复制来的百科介绍,简单看一看就好:“氟橡胶(fluororubber)是指主链或侧链的碳原子上含有氟原子的合成高分子的弹性体。氟原子的引入,赋予橡胶优异的耐热性、抗氧化性、耐油性、耐腐蚀性和耐大气老化性,在航天、航空、汽车、石油和家用电器等领域得到了广泛应用,是国防尖端工业中无法替代的关键材料。自从1943年以来,先后开发出聚烯烃类氟橡胶、亚硝基氟橡胶、四丙氟橡胶、磷腈氟橡胶以及全氟醚橡胶等品种。”
由这段内容我们可以知道,与常规橡胶材质相比,氟橡胶的耐热性、抗氧化性、耐油性、耐腐蚀性等都很好,用一句话总结就是性能稳定十分耐用,既然这样,那用来做表带岂不是十分合适?但现实是在2015年之前没人这么做,为什么会这样我们不得而知,但有几点原因可以确认,首先氟橡胶的成本远高于常规的硅胶/橡胶/TPU等材质,材料单价在数倍以上,其次氟橡胶以往多被用来生产结构、密封等用途的构件,并不直接面向消费者。开发消费者产品会有新的性能要求,比如外观品质要求就远高于工业产品,这需要在产业链上游配套进行研发投入,其所需要的资金规模、难度以及试错风险,是很多钟表品牌所不能承受的。
实现这一切的前提是,有明确的市场需求来提供预期,用巨大的规模摊薄成本,用持续量产来跑通制程,Apple Watch的出现推动了这些愿景在现实中落地,这些前期的投入与最后的产品互为因果,最后用相对合理的价格,让用户体验到了更好的产品。
关于这条表带的设计,关注工业设计的一些同学可能知道它是直接脱胎于钟表品牌ikepod,其早期产品部分由马克纽森设计。马克纽森加入苹果后深度参与了Apple Watch项目,其中千丝万缕的关系就不再赘述,咱们直接来看图吧:



图片源自Design-Drivel


图片源自@lanyaoman
图上我们看得出来Apple Watch的表带整体要成熟得多,型面质量更高,对比下来ikepod的表带像是个建模偷懒的设计师做的,很多细节给人未完成感,模具水平也远不如Apple Watch。Ikepod在生产这块表的时候还没能用上氟橡胶,可以看到老化的表带开始发油发亮。
不过我们不能苛求这款早期产品的品质,而要肯定其开创性意义。在这之前市场上还没有这般简洁又实用的表带,这其中包含了马克纽森的诸多精巧构思,比如抛弃了传统表带上的套环和金属活动扣,用更简洁的形式实现了同样的功能。这种做法跟苹果的理念是一致的,不断追求更少,更好,用认真的设计来消除平庸设计带来的复杂和冗余,直到让产品看起来像它本来就应该是那样。

ikepod 表带设计手稿

很多金属链式表带会采用蝴蝶表扣结构,这种扣子双面都可以展开,像个蝴蝶一样,所以就有了这么个名字。
蝴蝶扣的结构比较简单,是个长期有在使用的经典设计,它有个不大不小的问题,就是扣合后在表带内侧会有一块凸起,可能影响佩戴的舒适性,有些表款在此处的设计比较粗暴,佩戴体验就不太好。另外,调节链式钢带的长度一直是件很费劲的事情,相信很多人都有过去柜台找师傅帮忙卸表节的经历,仿佛不借助专用工具这事就没法完成一样。

经典的蝴蝶扣设计

某品牌粗暴的蝴蝶扣设计,佩戴口碑不太理想

金属表带拆装通常需要借助特定工具,对用户十分不友好

那么我们拿苹果的钢带去对比传统设计,很容易发现它的两个特别之处:
1.蝴蝶扣扣合后表带整体厚度平齐 。
2.表节可以徒手轻松拆解拼接,无需借助外部工具。

显然,苹果的设计是基于传统蝴蝶扣式钢带的缺点去进行的。在蝴蝶扣部分,苹果进行了细致的结构堆叠设计,使得折叠结构在扣合后可以完整平齐地填充到表扣被掏空的部分。而在表节部分,苹果设计了精妙的弹片结构,实现了按压按钮即可拆卸表节的功能。



实现这种精确的堆叠设计需要表扣每个部件的形体尺寸都足够精确,因此所有部件都使用cnc加工成型,据苹果官方宣传称,光加工每个表节就需要9个小时。这种做法非常奢侈,但唯有此才能实现最终的精确装配。
完成部件加工后,各个部件根据自己的功能特性再做表面处理,包括边缘倒角,表面拉丝,镭雕、喷砂,局部焊接等。



两侧的按钮为独立成型,后期再焊接到表扣上


扣子内部两端设计有弹片,弹片被设计成逐渐减薄的形态,末端具备一定的弹性形变能力,扣合后起到紧固效果,防止表扣松垮。


在蝴蝶扣中,苹果使用了3种规格金属转轴,直径分别为0.98mm,0.8mm,0.78mm(实测数值,非原始设计数值,可能有偏差),并且在轴端面全部做了CD纹处理。

CD纹是常见的表面处理效果,它可以使得产品显得更为精致,比如你此刻正在使用的手机下面很有可能就有两颗带CD纹理的螺丝。但是,在如此小尺度的轴的端面进行CD纹理加工则十分罕见,即使是精于工艺的机械腕表,也只能在少数高端表款上见到这样的工艺。苹果在做了极小的CD纹面的同时,甚至还把轴端面与外观面做到了基本平齐。

朗格 奥德修斯 表扣轴端面使用了CD纹理 图片源自SJX

图片源自百达翡丽/Romain Gauthier官网
轴端面通常会低于外观面,这是为了通过留出余量来兼容装配后可能出现的误差,如果原始设计长度平齐于外观面,那就可能出现装完后轴端面高于外观面的情况,这样的成品显然不能被接受。
苹果在此处的冗余设计极小,对公差的要求十分苛刻,作为批量生产的工业产品,这种制造公差要求为量产提供了挑战,部分高端机械钟表尚可以通过人工辅助作业和小订单的特性来覆盖掉生产困难,而大批量生产高工艺要求的产品,则需细致把控供应链,以及对制造有丰富的经验积累。
应当说,和米兰尼斯表带一样,苹果又一次将同类产品做到了一个全新的高度,这种高度并非指其打磨有多精细,而是指其先进的设计理念和高度原创的结构设计。
写到这里的时候,我不想再按前面的方式继续写下去了,无非是把产品拆解分析一下,再表示其匠心之独运,赞美多了就忍不住想批判一番,因此在钢带这个章节我打算挑挑这块表带的毛病,而事实上这块表带的缺陷也确实让我非常angry!
苹果钢带最大的缺点,就是佩戴事实上并不舒服,是的,苹果精心设计解决了传统钢带的两大弊端后,结果却是最基本的佩戴感受都有问题。

我的腕径比较大,满链状态就是我的佩戴尺寸,但佩戴小号钢带依然感觉坠手感很强,手上像套了个钢圈,很难想象手腕得多粗才能驾驭大号钢带。导致钢带佩戴不舒适的原因主要有两点:
1.钢带的整体宽度一致,并未采用传统钢带逐渐收窄的设计,表节由CNC一体成型,内部为实心构造,钢带整体较重。
2.钢带的表节之间通过弹片卡扣衔接,不是传统的轴结构,这导致表节与表节之间的可旋转角度较小,表带更像是一条手镯,而不是可以在任何角度都能贴服手腕的表带。
用一句话形容苹果钢带的佩戴感受,那就是,像戴了一个宽度为20mm的不锈钢材质的手镯。


百达翡丽nautilus的佩戴舒适度是同类产品里的佼佼者,图上可见其表节宽度从上到下逐渐收窄
钢带腕表中我经常会佩戴一块生产于2000年代初的劳力士日志,它的佩戴感受就十分舒适。除收窄设计以外,老款劳力士钢带表节通常为空心设计,整体重量比较轻。其次,表节之间的转动自由度较高,可以很好地贴服在手腕上,这些特性为良好的佩戴感受打下了坚实的基础。

老款rolex表带较轻的重量和良好的贴合度带来了优异的佩戴感受
除佩戴感受不好外,表带品质还出现了下滑的情况。
起初我手上有两条38mm规格的钢带,一条购于2015年首发,另一条购于2019年,这两条表带单独看品质都很好,但放一起对比后发现后期的表带没有首发版本打磨精致。此时我还怀疑,是否是批次差异,而不是规格调整(我后来意识到这个推测本身也不对,如果是批次差异,那品控未免也太差),抱有幻想的我又买了条全新钢带,发现新买的表带和2019年买的表带是一样的...
左为2015年版本,右为2019年版本,可以看到右边的后期版本钢材颜色发黄,质感也比较黯淡

右边两位是亲兄弟,左边那位看起来比较高冷
区别有以下几点:
1.早期版本钢材偏冷色调,表达了金属该有的冷峻感,后期表带钢材色泽偏暖,表带通体发黄。
2.早期拉丝表面摸起来接近镜面质感,十分丝滑,后期版本表面触感有些拉手,不够高级。
3.早期在表带棱角边缘处做了细致打磨,边缘不割手,十分细腻,这个区别很难言传,但上手便知高低。

左为首发版本,右为后期版本

留意边缘处的反光,早期表带在所有细小边缘都做了细腻的打磨,后期取消了这个工艺
其它毛病暂时挑不出来了,虽然戴着不舒服但我的总体评价还是正面的,毕竟全靠同行衬托。。。但据观察,在友商追赶下差距正在不断缩小,个别手机品牌也做出了类似体验的产品。明年2024年就是这款表带发布的十周年,非常希望苹果能更新一下钢带的设计。

Apple Watch的表带款式在常规款+爱马仕款+主题限量款这三个大类内,每款单一表带的颜色款式也很多,整体sku数量惊人。作者打工比较忙,一直在用碎片时间写这些东西,所以在这个章节内就选择性挑一些款式聊一下。

就氟橡胶表带来说,到底有多少款式,我发现几乎无法明确统计,上图展示的仅是其中一小部分,可以看到其中有些款式间的颜色差异非常小,小到什么程度呢?如果换作别的品牌,这也许就是同一款产品的不同梯度样罢了。
据供应商介绍,为苹果定制开发的氟橡胶材质的调色性能十分优异,几乎可以调制出色卡上的所有颜色,这种材料特性为表带后续的CMF开发提供了良好的基础。

氟橡胶表带中目前在售的特殊版本是一款名为Black Unity的表带,下面是直接摘取自官网的介绍,由于官网的总结已经很简洁到位,这里我就当次搬运工,不再另作介绍。这款表带有意思的地方在于加入了手工元素,手工意味着一定程度的不确定性,这种不确定性使得每条表带的纹理都是独一无二的。
“Black Unity 运动型表带由 Apple 团队中的非裔创意人设计而成,旨在表达对非裔族群历史文化的认同和敬意,其灵感来自泛非三色旗,并向拼布艺术的深厚传统和精湛技艺致敬。它由三片独立的单色 Fluoroelastomer 材料先以手工拼接,再经压模一体成型。再搭配带有动态效果的团结表盘,可在 Apple Watch 上呈现持续变化的不规则图案,以色彩的碰撞为腕间增添一道独特风采。创新的收拢式按扣上,带有“Truth”、“Power”和“Solidarity”的激光蚀刻字样。”


再聊聊爱马仕表带。苹果与爱马仕合作的表带都是传统款式,从构造上来说没什么好说的,所有设计都在传统表带的构造范式之内,但我个人呢非常喜欢这两个品牌的合作组合。

位于法国的爱马仕制作工坊

厨子拜访立讯精密位于中国昆山的工厂
苹果的成长依托于成熟完备的工业供应链体系,以及网络基础设施在全球范围内的大规模建设,简言之,即工业革命和信息革命。爱马仕则是一个创立于19世纪的精于手工艺和设计的头部奢侈品牌,是前现代工艺文化的代表品牌之一。搭配爱马仕表带的Apple Watch,就像是两个不同宏观历史时空下,各自优质产物的结合。
苹果和爱马仕分别所在的行业有着不同的使命,但就产品本身而言,双方都十分热衷于折腾材料、工艺、设计。不谈钱的话,这很可能是他们得以有效合作的内在基础,by the way,很推荐设计师没事可以看看爱马仕的产品,不少有着很高的设计水准和颇具匠心的呈现表达。





不同于一些长于运营和贩卖符号的品牌,爱马仕的大部分产品线依然坚持其工匠精神和人文主义价值观,专注于创作的自由,优质的材料和杰出的工艺。在苹果与爱马仕合作之前,苹果就已开始采购爱马仕的物品在直营店内使用,这显示了苹果对其设计和品质的认可。
两者合作的表带款式大都使用了一种名为Swift的小牛皮材质。Swift小牛皮与Gulliver小牛皮很相似,所以后来人们以《格列佛游记》作者的名字Jonathan Swift命名。这种材质柔软细腻,适合制作成各种鲜艳的颜色。

《格列佛游记》作者 乔纳森 斯威夫特


表带包装内置了一块绒布包裹,材质跟官网那块抛光布一样,买了爱马仕表带的同学可以拿来擦擦显示器手机啥的,亲测还挺好用。




缝线部分使用了双针马鞍缝工艺,呈漂亮的波浪状。关于工艺细节,请看下图我搬运的博主@芯随表动 的微博。简单总结:使用这个缝线工艺的表带精致漂亮,结实可靠,缺点是需要人工制作,产能很低。





所有特殊款式里最有意思的就是这条黄金链式表带了。
这款表带没在官方宣传渠道中出现过,也从未对外售卖,但确实存在,是苹果为老佛爷(karl lagerfeld)与碧昂斯二人定制制作,仅存世2支。表带整体采用18k金材质打造,但这还不是这款表带最特殊的地方。


链式表带原本使用不锈钢材质制作,如使用另一种性能完全不同的材质,原有的生产制程将无法复用,得重新投入研发资源,这种代价是非常昂贵的,但这款表带最终仅仅生产了2支。这种罕见的不对等资源倾斜投入动作背后,是当时苹果想让Apple Watch进入时尚圈的野心。

以表壳为例,黄金版与不锈钢版各自的制造制程完全不同,甚至内部的硬件结构也不一样
我们现在回头看,这个策略无疑是失败的,因为彼时Apple Watch从根上来说还是一个没想明白的产品,靠明星名流佩戴特殊版本破圈入行,多少显得仓促了些。最终Apple Watch一代的销量也确实不尽如人意,以至于乔纳森离职后很多媒体在拿这事甩锅鞭尸爵士,看来无论是对谁,菜始终是原罪啊。
内容到这里就结束了,这个公众号没法留言,所以如果内容有误欢迎候后台私信指正,也欢迎同好交流。

长按上面的二维码可以添加我的微信,欢迎交流。
本文章版权归 高兴 所有,禁止匿名转载及个人使用,任何商业用途均需联系原作者。
举报
沪公网安备 31011502009179号
写得太好了
来催更了!!!
非常后悔到现在才看到这篇干货满满的文章,看完到现在都依旧处于震惊当中,真的学到很多,也对苹果以及作者对细节的卓越追求佩服的五体投地。👍👍👏👏
厉害厉害厉害
厉害,这么详尽
太细致了,学习到很多
写的很好,很具体、很专业,看得出对手表的功底是很丰厚的。学习、收藏、关注!
牛!有点像HiiD的文章哈哈哈
太干了 ,建议多出
干货,干货
表哥好
精致爽文
研究的那么深,不会掉表坑里了吧?千万使不得啊
过于优秀